Принципиальные схемы электрооборудования автомобиля Renault Trafic - предохранители и реле с их обозначениями и номиналами. Все схемы на русском языке и в хорошем качестве. Чтоб развернуть картинку на весь экран - кликните на неё. Приведены назначения и местоположениях всех предохранителей, показаны защищаемые цепи. Указаны их условные обозначения на корпусе. Схемы защищены от копирования и просматривать их можно только на сайте. Продолжение сборника, с описание остальных схем Renault Trafic.
Предохранители и реле, размещённые в блоках автомобиля Renault Trafic

Предохранители и реле - назначение и обозначения

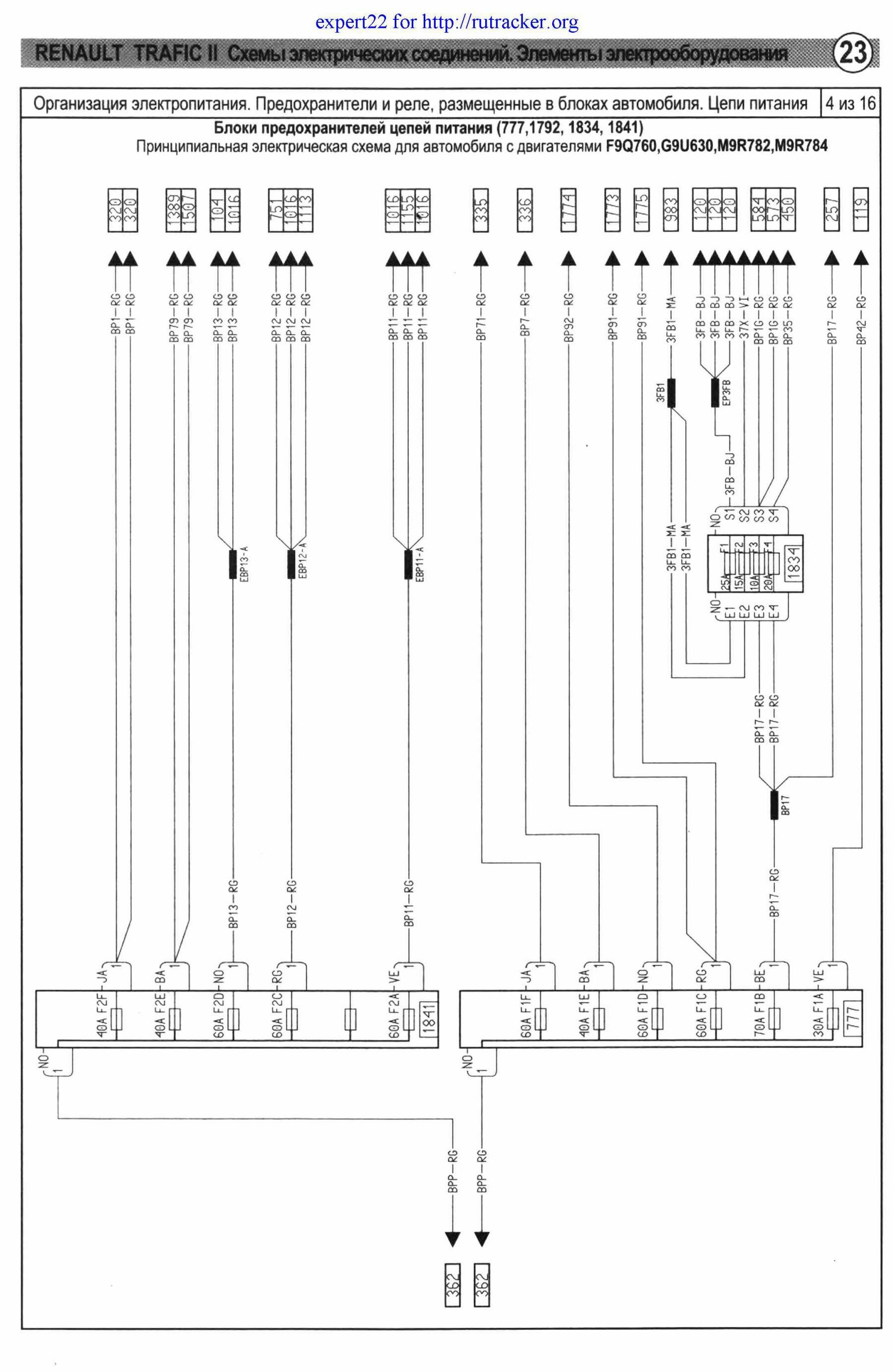
Предохранители и реле - цепи питания


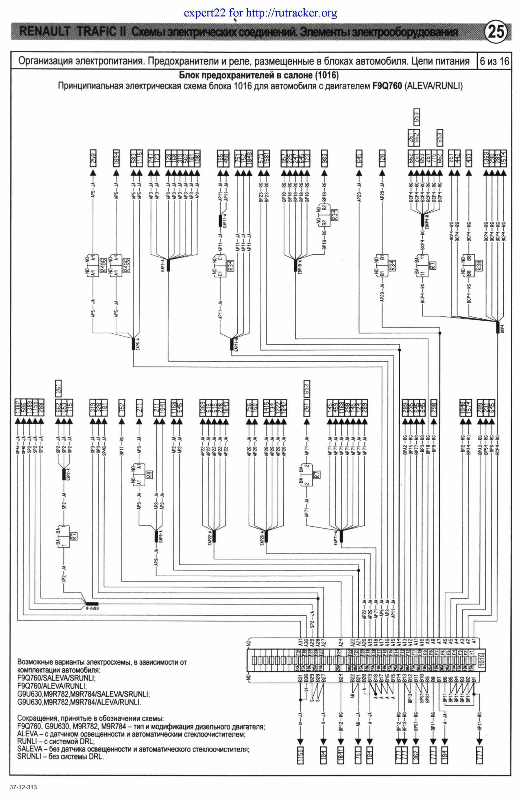
Блок предохранителей в салоне авто


Блок реле потребителей энергии Renault Trafic

Центральный электронно-коммутирующий блок


Наименование и назначение ЦЭКБС


Электрическая схема блока 362

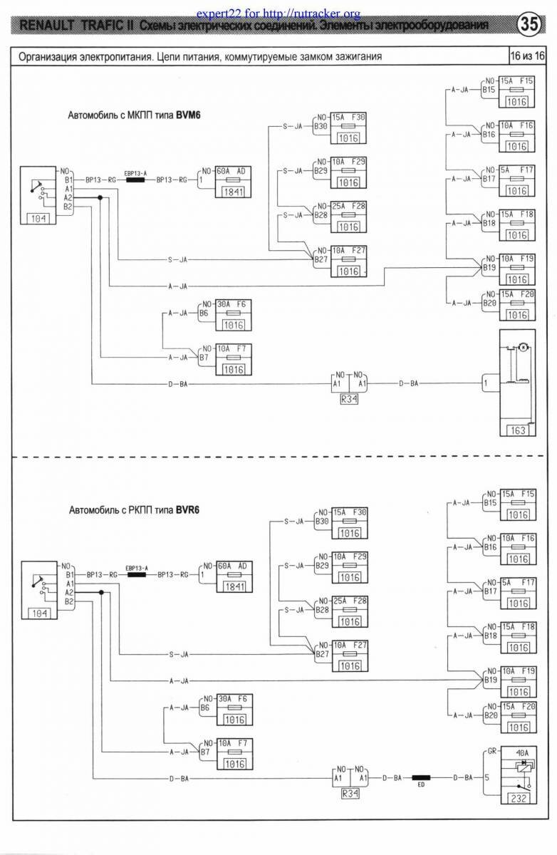
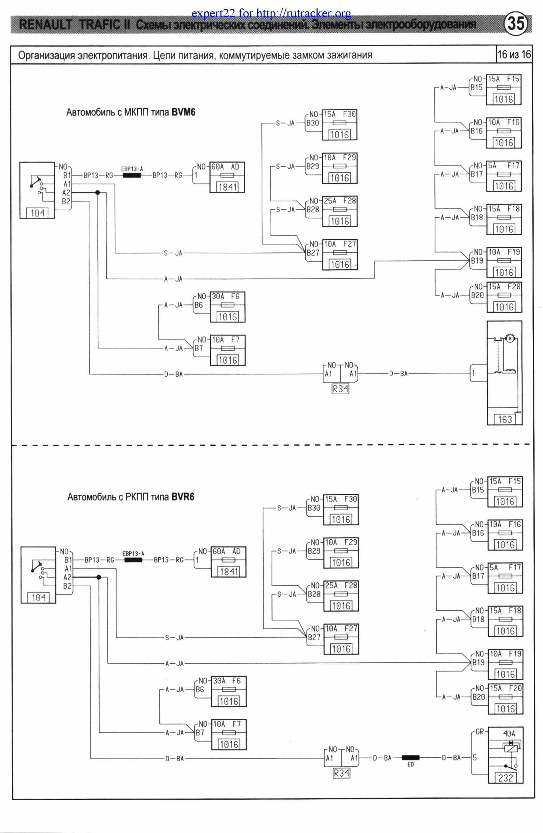
Цепи коммутируемые замком зажигания Рено Трафик

Коды цепей питания - таблица



Электрические схемы точек подсоединения к массе




РЕМОНТ АВТОЭЛЕКТРОНИКИ ЗАРЯДНЫЕ УСТРОЙСТВА ДЛЯ АКБ

|